Мембранное сбросное устройство (МСУ) предназначено для защиты системы теплоснабжения и теплофикационного оборудования ТЭЦ от волн повышенного давления (гидроударов), возникающих в результате резкого повышения гидравлического сопротивления в трубопроводах в периоды аварийных остановок сетевых насосов, закрытия задвижек, клапанов и проч. Защита осуществляется путем сброса из трубопровода в дренаж сетевой воды в количестве, обеспечивающем срезку на заданном уровне волны повышенного давления.
Защита осуществляется путем сброса из трубопровода в дренаж сетевой воды в количестве, обеспечивающем срезку на заданном уровне волны повышенного давления.

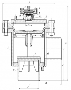
Обозначения:
1. Клапан основной.
2. Гидропривод основного клавпана.
3. Клапанок вспомогательный.
4. Гидропривод вспомогательного клапанка.
5, 6. Седло.
7, 8. Золотник.
9, 10. Направляющие.
Мембранное сбросное устройство, показанное на рисунке выше, состоит из основного 1 и вспомогательного 3 клапанов с гидравлическими приводами соответственно 2 и 4. Герметичность гидросистемы через клапаны в их закрытом положении, обеспечивается мягкой посадкой на седла 5, 6 золотников 7, 8. Центровка хода золотников обеспечивается направляющими 9, 10. Управление мембранным сбросным устройством сводится к подаче или сбросу давления на гидроприводе вспомогательного клапана. На гидропривод основного клапана подается рабочая вода нерегулируемого давления с тепломагистрали. При наличии давления на гидроприводах мембранное сбросное устройство находится в закрытом положении. При сбросе давления с гидропривода вспомогательного клапана последний открывается давлением снизу на золотник, осуществляя, тем самым, сброс давления с гидропривода основного клапана и его открытие давлением на золотник со стороны тепломагистрали. В зависимости от выбора схемы защиты управляющим элементом мембранного сбросного устройства могут служить как гидравлические, так и электрические средства управления.
ПЕРЕЧЕНЬ ВОЗМОЖНЫХ НЕИСПРАВНОСТЕЙ
Наименование неисправностей, | Вероятная причина | Метод устранения |
| 1. Нарушена герметичность клапана. Пропуск среды при закрытом клапане. | 1. Износ или повреждение уплотнительной прокладки. 2. Разрыв мембраны основного клапана. | 1. Разобрать изделие, заменить прокладку. 2. Разобрать изделие, заменить мембрану. |
-
Общие:
- Россия
- Отопление
-
Основные:
- 80
- 1,6
- сетевая вода
- не более 90
- 80
- +6...+60
- не более 0,1
-
Габариты и Материалы:
- 25
- Ст 35
- Ст 20
- Ст 20
- 12Х18Н10Т (аналог AISI 321) (нержавейка)
- Ст 10
- 12Х18Н10Т (аналог AISI 321) (нержавейка)
- 60Л63 (бронза)
- ТМКЩ-М-8 (ГОСТ 7338-90)
- Пока нет отзывов
Все технические характеристики предоставлены официальными источниками заводов-производителей и носят ознакомительный характер. Для получения более полной и точной информации просим обращаться к нашим специалистам.
info@mypump.by



